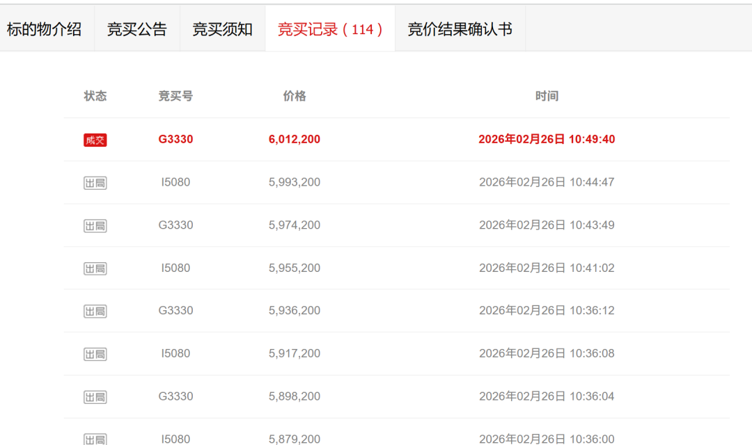
昨日,两则来自一线城市的重磅消息,为沉寂已久的楼市投下了两颗“深水炸弹”,正式拉开了“金三银四”的爆发序幕:一边是上海祭出“沪七条”继续松绑另一边广州则激战出200亿+的史诗级地王...政策与土拍的双双“开门红”,宣告着核心城市房地产市场的信心正在加速修复!而在南通,反应比预想中更快!就在刚刚,城东高端改善盘——中海铂樾府的法拍房,率先上演了一出“抢房大戏”,溢价超200万,用真金白银为市场投下信任票!114轮鏖战!溢价218万,铂樾府法拍“炸场”就在刚刚,南通城东中海铂樾府小区:一套建面约205.68㎡的叠加以601.22万的价格成交,溢价足足有218.5万,令人咋舌!该套房源评估价546.7万,起拍价仅382.72万,5人报名了该套房源的竞价。
在114轮激烈竞价之后,以601.22万的价格成交,买房人用真金白银对南通高端改善市场的进行了有力的投票!本次拍卖标的坐落于南通市铂樾花园13幢103室、 B103室不动产,其中地上住宅建筑面积205.68平方米,储藏室建筑面积105.57平方米,土地使用年限: 2087-07-12止,登记时间:2020-05-21。
值得一提的是,该标的已存在且正在产生的物业费、公共维修基金、水、电、煤气等欠费由买受人承担(现查明已产生物业费10245.17元,具体以物业登记为准)。
房源整体是毛坯状态,整体面积巨大,可改造性较强。
中海铂樾府小区位于南通主城核芯位置,南通地铁2号线旁,共建设有11栋叠墅和8栋小高层,叠墅210㎡,小高层142、175㎡,绿化率为32%,容积率为1.5。
小区打造法式园林,细节由石材花钵、水景、古典柱式等体现,植被覆盖率较高,打造精致,视觉冲击感强。
栽种银杏、朴树、石榴、香樟、金桂、海棠等,打造主题性景观树阵,尽显贵气。
因为中海铂樾府定位纯改善,起步面积大、准入门槛高,挂牌房源总价基本都在300万以上。
目前,中海铂樾府在贝壳找房上的二手挂牌均价为28680元/㎡,48套房源在售,近90天成交2套,业主整体较为惜售。
南通楼市原地起跳改善盘走出独立行情!当一线城市的信号弹升空,南通买房人嗅觉更为灵敏,早已闻风而动:根据好好选房数据,开年之后,南通楼市迎来原地起跳,甚至引起了上海房产博主的关注。
数据方面,涨幅明显:1月市区新房成交面积约6.84万㎡,环比上涨5.72%,同比上涨25.5%;1月市区新房成交均价约22065元/㎡,环比上涨8.54%,同比上涨15.37%。
图源:彤心不动产开工第二日,南通贝壳也发布喜报:新房+二手单日单量再破110+单,开工两日新房+二手单日单量累计230+单,热度明显。
本轮小阳春,品质改善型产品已然扛起大旗,热销遍地:大年初一,北大街首开不久的纯新盘——华宇云锦九璋就已经有买房人及时出手。
五龙汇核芯、运河北侧的九里云和,春节期间热销不断,打造出了南通楼市久违的热销样板。
招商公园道春节热销,目前建面约128m²、143m²、158 m²户型清盘在即!五龙汇南光澳门中心劲销3600万元。
新东区城镇铂域澜湾,初九当日劲销7套,号召力不俗。
写在最后:大多数人还沉浸在“房价还会跌”的惯性思维里,聪明的资金早已悄悄完成了调头,正疯狂抢夺那些兼具地段、品质与确定性的核心资产。
中海铂樾府的火爆,不是个案,而是一个新周期的开启:南通的改善型置业需求正在强势觉醒,高端改善市场,已然率先回暖!你对于接下来的南通楼市怎么看?欢迎评论区留言讨论。
添加下方“韩一哥”拉你进“南通买房交流群”▼- End -免责申明:1/本文来源南通楼市网,仅供参考。
如因阅读文章,对您购房行为产生损失,平台不承担相关责任;如果您继续阅读文章,则视为已知晓认可该声明。
2/添加微信nt36511,拉你进买房交流群。
因微信公众号规则改变点“赞+在看”才能及时收到推送哦












