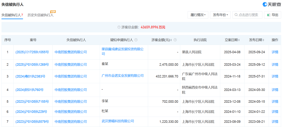
根据“信用江苏”公开信息, 中南控股集团有限公司因虚开增值税普通发票,被处以10万元罚款。 违法事实: 检查人员根据协查要求对你单位开展检查。连云港市徜徉企业咨询有限公司开具给你单位的29份增值税普通发票已确认为虚开,开票日期:2020年9月16日、2020年9月25日,发票代码:032001900204,发票号码:63215457-63215461、76091693-76091716,发票金额 2871287.16元,发票税额28712.84元,价税合计2900000元。你单位提供情况说明反馈,2020年你单位人事部门取得了上述29份发票,但财务部门没有接受,未入账。但检查人员在检查中发现,两个批次的发票金额和你单位的两次付款金额完全对应,同时你单位在账册中将对应的两笔付款计入了管理费用评估咨询费科目,并于当月结转了成本,未作当年度企业所得税纳税调整。检查人员对你单位反馈的未收到上述29份发票的说法不予采信。 经核实,你单位未能提供对应合同,也未说明具体的业务情况,你单位支付给开票方的290万最终流入了你单位公司高管及员工等个人银行账户。在检查过程中上述资金已经退回给你公司账户。根据现有证据,认定你单位无货接受虚开29份增值税普通发票。 处罚决定日期 :2025年12月12日 处罚依据 :《中华人民共和国发票管理办法》(国务院令第587号)第二十二条、第三十七条之规定 处罚机关 :国家税务总局南通市税务局第一稽查局 另据“天眼查”公开信息, 中南控股集团有限公司目前存在21条被执行人记录,被执行总金额超29亿元;此外,公司还存在失信被执行人记录7条,股权冻结记录148条,限制消费记录50条等。 END 往期推荐 土拍丨南通卖地收入,闯入全国前十? 房价丨南通二手顶流,已跌回15年前 数据丨南通市区新房成交报告(2025年11月) 南通首家!知名五星级酒店即将开业 突现大量法拍房!南通老牌房企竟已债务缠身?




