猝不及防!拿地15年未开发,如皋市中心宝藏地块登上法拍!近日,位于如皋市如城街道城东村17、18、19、20、21、22组的两处国有土地使用权上架法拍,起拍价2.73亿,引起诸多市民的关注。
值得一提的是,地块评估价高达4.8亿元,本次相当于自降2亿出让,极具诱惑力。
根据法拍信息,上述两处不动产系整体变卖,均为RJY2010-1#地块(规划编号)其中一部分。
其中,A区国有土地使用权证书号为苏(2018)如皋市不动产权第0019439号,土地使用面积为38937.67平方米,规划用途为城镇住宅用地,土地使用权取得方式为出让,土地使用年限至2080年6月3日止;B1区国有土地使用权证书号为苏(2018)如皋市不动产权第0019440号,土地使用面积为25497.08平方米,规划用途为商务办公,土地使用权取得方式为出让,土地使用年限至2050年6月3日止;B2区则为已经建成的彩虹城小区、中如大厦等部分建筑。
上述两处不动产均设有抵押登记,登记抵押权人分别为南京银行股份有限公司如皋市支行、中皋融资担保有限公司、江苏中皋商业保理有限公司,变卖成交后依法注销抵押登记。
地块位于如皋主城核心地段,东临彩虹城别墅区、南临解放路、西临观风南路、北临钱桥路(原皋南路),区域内居住和商业服务业用地数量较多,如皋市行政中心、万达广场、如皋奥体中心、吾悦广场等配套集聚,位置非常优越。
地块现状为已经完成拆迁但场地未平整的待发“净地”,地块内杂草丛生,非常荒芜。
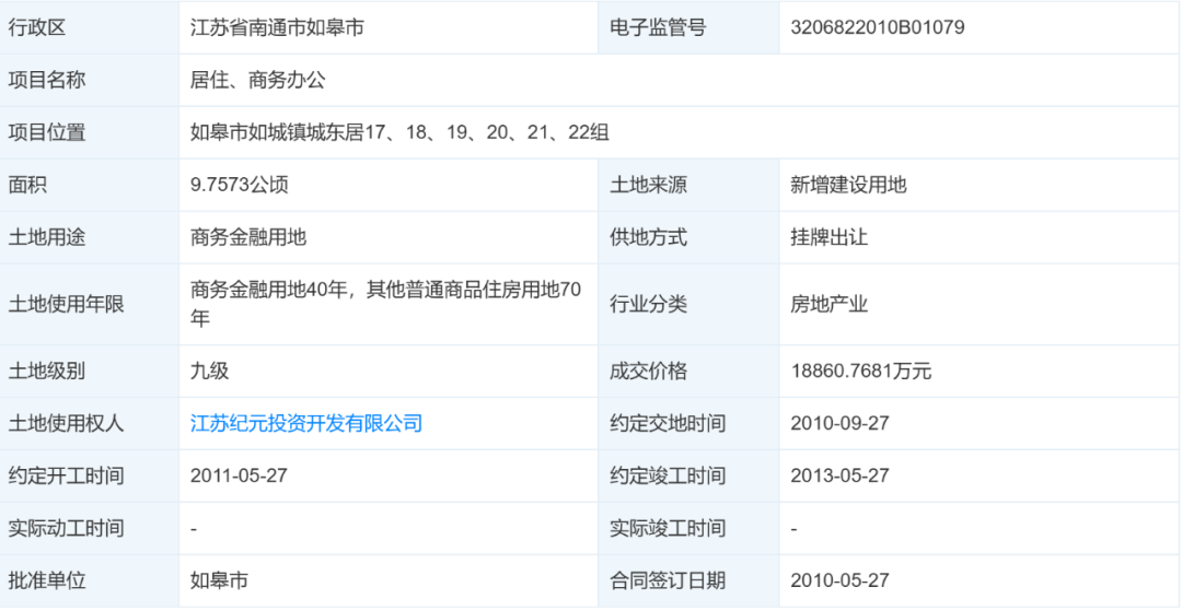
观察君查询资料发现,该地块于2010年被江苏纪元投资开发有限公司(现更名为江苏朗居建筑工程有限公司)摘得,成交价约为1.88亿元,至今已经15年,土地寿命也随之大大缩水。
值得一提的是,该公司依然为存续状态。
综合来看,此次法拍可谓机遇与风险并存。
机遇在于其无可替代的核心区位和近乎腰斩的起拍价,而风险则深藏于复杂的债权债务和长达15年的历史遗留问题中。
对于有意向的接盘方而言,不仅是一次资金实力的考验,更是一次处理复杂问题能力的挑战。
这块“宝藏地块”最终花落谁家,又将迎来怎样的未来,我们将会持续关注。
- THE END -
加入购房群获得一手楼市信息和更多购房者一起交流买房经验??楼盘直达点击下方链接,咨询楼盘置业顾问星湖玥大华铂璟湾炜赋龙腾华府仁恒紫琅世纪世悦元瑞雅苑臻如府盛和·九里繁花濠东璟园滨江国际街区免责申明:1/本文来源南通楼市网,仅供参考。
如因阅读文章,对您购房行为产生损失,平台不承担相关责任;如果您继续阅读文章,则视为已知晓认可该声明。
添加公众号:langshanwx,拉你进买房交流群。









